一、特點:
1.臥式穿芯,安裝方式靈活,PCB板焊接安裝
2.全封閉,機械和耐環境性能好,電壓隔離能力強,外形美觀;
二、使用環境條件:
1.環境溫度:-40℃~+85℃;
2.相對濕度:溫度為40℃時不大于90%;
3.大氣壓力:860~1060mbar(約為650~800mmHg)。
三、工作頻率范圍:20Hz~20kHz。
四、絕緣耐熱等級:b級(130℃)。
五、安全特性
1.絕緣電阻:常態時大于1000MΩ;
2.抗電強度:可承受工頻6000V/50Hz/1分鐘;
3.阻燃性:符合UL94-Vo級。
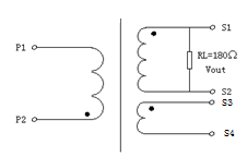
六、外形圖、安裝尺寸及線圈圖圖一

注:S1-S2為測試繞組,S3-S4為自檢繞組。
七、典型應用及性能參數:
按圖二所示應用時性能參數見下表:

圖二

八、注意事項:
1.電流互感器初級應串聯于被測電流回路中,次級應近似工作于短路狀態。
2.電流互感器次級電路不允許開路,所以請不要裝熔斷器。