一、特點:
1.母線穿芯,軟線引出,板式安裝;
2.全封閉,機械和耐環境性能好,電壓隔離能力強。
二、使用環境條件:
1.環境溫度:-55℃~+85℃;
2.相對濕度:溫度為40℃時不大于90%;
3.大氣壓力:860~1060mbar(約為650~800mmHg)。
三、工作頻率范圍:50Hz~400Hz。
四、絕緣耐熱等級:B級(130℃)。
五、安全特性:
1.絕緣電阻:常態時大于1000MΩ;
2.抗電強度:可承受工頻6kV50Hz /1分鐘;
3.阻燃性:符合UL94-V0級。
六、外形圖、安裝尺寸和線圈圖:
1.外形圖、安裝尺寸見圖一:

2.線圈圖見圖二:

● 說明:每只產品配套供給兩個底板支腳和一個母線支腳和固定母線螺絲,安裝說明見下。
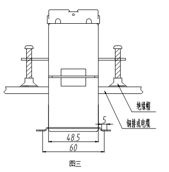
3.安裝說明:
● 往底板上固定時:
取兩只支腳(隨產品配套供應)按圖三所示插入底板支腳插孔。安裝孔中心距為60×44.7;支腳安裝孔徑為Φ5.0;可用M5螺釘將互感器固定在底板上。
● 往母線上固定時:
將帶M5孔的支腳(隨產品配套供應)按圖三所示插入母線支腳插槽中,M5孔中心距為60 可用M5螺釘將互感器固定在母線上。

七、典型應用及性能參數:
用電阻法直接獲得采樣電壓時(如圖四所示)性能參數見表一。

表一:
產品型號 | 額定 輸入電流 | 額定 輸出電流 | 額定 采樣電阻 | 額定 采樣電壓 | 相移 | 非線性度 | 線性范圍 |
TAK100-01 | 1000A | 5A | 0.3Ω | 1.5V | ≤50’ | ≤0.5% | ≥3倍額定 |
八、注意事項:
1.電流互感器初級應串聯于被測電流回路中,次級應近似工作于短路狀態;
2.電流互感器次級電路不允許開路,所以請不要裝熔斷器。