一、特點:
1.立式穿芯,安裝方式靈活,既可固定于母線上,又可固定在底板上;
2.輸出為軟線引出形式,便于在工程現場接線。
二、使用環境條件:
1.環境溫度:-55℃~+85℃;
2.相對濕度:溫度為40℃時不大于90%;
3.大氣壓力:860~1060mbar(約為650~800mmHg)。
三、工作頻率范圍:20Hz~20kHz。
四、絕緣耐熱等級:B級(130℃)。
五、安全特性
1.絕緣電阻:常態時大于1000MΩ;
2.抗電強度:可承受工頻5kV/50Hz/1分鐘;
3.阻燃性:符合UL94-V0級。
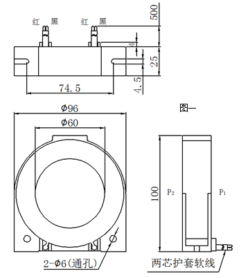
六、外形圖、安裝尺寸:
1.外形圖、安裝尺寸見圖一:

2.線圈圖見圖二:

七、典型應用及性能參數:
按右圖三所示典型應用時性能參數見下表:

產品型號 | 額定 輸入電流 | 額定 輸出電流 | 額定 采樣電阻 RL | 額定 采樣電壓 | 相移 | 精度 | 線性范圍 |
TA7086-1M | 20A | 10mA | 100Ω | 1V | ≤10’ | ≤0.1% | 4倍額定 |
TA7086-2M | 30A | 10mA | 100Ω | 1V | ≤10’ |
注意:此系列互感器用于零序電流保護的場所,帶屏蔽層設計,輸出引線長度可以根據客戶要求定做。
● 說明:
a.實際應用中,采樣電阻應小于或等于上表給出的額定值,這樣會改善非線性度和相移;
b.若用戶需要的變流比與上述不同,可按用戶要求訂制。
八、注意事項:
1.電流互感器初級應串聯于被測電流回路中,次級應近似工作于短路狀態;
2.電流互感器次級回路在工作時不允許開路,所以請不要裝熔斷器。